香水泵是一种专为高挥发性、高酒精含量(通常70%-95%乙醇)、高价值液体设计的精密机械式液体分配装置。它通常安装在香水瓶的瓶颈处,通过按压喷头,利用内部活塞、弹簧和阀门的协同作用,将定量的香水从瓶中吸出并雾化成细密的喷雾。
其核心价值在于:精确计量、有效密封防止挥发和泄漏、创造理想的雾化效果、提供舒适流畅的按压手感、并具备良好的装饰性。
TWO

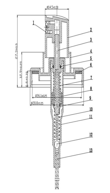
一个典型的香水泵主要由以下部件组成,按功能区域划分:
1. 外部/用户交互部分:
按头/喷头:用户按压的部分,内部通常有雾化喷嘴(孔径极小),负责将液体打散成雾状。材质多为塑料(ABS, POM, AS等)或金属(镀金、镀铬等),表面可进行电镀、喷涂、UV等装饰处理。
外套/装饰盖:覆盖在泵体外部,起保护和装饰作用,材质和工艺多样,是品牌设计的重要体现。
2. 泵体核心/功能部分:
泵室/气缸:核心工作腔体,内部有精密活塞运动。材质需高度耐化学性(如PP, PE, PCTG, POM, 玻璃)。内壁光洁度要求极高。
活塞:在泵室内做往复运动,产生吸力和压力。通常由耐溶剂橡胶(如EPDM, FKM氟橡胶)或特殊塑料(如POM)制成,与泵室内壁紧密贴合形成密封。
活塞杆/阀杆:连接按头和活塞,传递按压力。内部常设计有液体通道和阀门结构。材质多为POM或不锈钢。
弹簧:提供按头回弹力,并帮助活塞复位。材质必须高度耐腐蚀(通常为302/304不锈钢),其弹力大小直接影响按压手感和回弹速度。
球阀/单向阀:
入口球阀:位于吸管底部或泵体底部,只允许液体从瓶内进入泵室,防止倒流。通常为玻璃珠(惰性)或耐溶剂塑料珠(如PP),配合阀座工作。
出口球阀/密封珠:(部分设计有)位于活塞或阀杆内,在非按压状态时密封出口通道,防止空气进入和香水挥发。在按压时打开允许液体流出。
阀座:与球阀配合,形成密封面。材质需耐腐蚀且硬度适中(如POM)。
吸管:插入瓶底,将液体导入泵室。材质多为PP或PE。长度需适配瓶型,底部常切成斜面或带切口以利吸液。
3. 固定与密封部分:
垫片/密封圈:位于泵体与瓶口之间,确保瓶口密封,防止泄漏和挥发。材质多为EPDM或FKM氟橡胶,要求高回弹性和永久压缩变形小。
锁盖/固定环:通常为铝或塑料材质,通过机械方式(旋拧、压接)将泵体牢固固定在瓶口上,并压紧密封垫片。
THREE

1. 材料兼容性:
所有接触香水的部件(泵室、活塞、球阀、阀座、吸管、垫片)必须能长期耐受高浓度酒精、香料化合物(可能含酯类、醛类等)、溶剂而不发生溶胀、溶解、开裂、析出或化学反应。
2. 密封性能:
静态密封:瓶口垫片必须有效密封瓶口。
动态密封:活塞与泵室内壁间的密封至关重要,需在长期往复运动中保持良好密封性,防止酒精挥发和香气损失。
阀门密封:入口阀和出口阀(如有)在非工作状态下必须严密关闭,隔绝空气进入和液体挥发。常采用氟化处理提升密封件表面惰性和密封效果。
3. 雾化性能:
喷头孔径、内部涡流结构设计、液体压力共同决定了喷雾的细腻度、均匀性、锥角和雾化形态(如扇形、锥形)。需达到消费者期望的“如雾般轻盈”的效果。
4. 计量准确性与一致性:
每次按压喷出的液体量(通常为0.05ml - 0.2ml)必须精确且稳定,批次间差异小。
5. 按压手感:
弹簧力、摩擦力的设计需平衡,提供流畅、省力、回弹迅速且具有“高级感”的按压体验。行程和启始力是关键参数。
6. 耐挥发性/保香性:
这是香水泵区别于普通泵的核心。通过多重密封设计、高质量的密封材料(尤其是氟橡胶)、阀门密封以及有时在泵内充入惰性气体或采用特殊真空设计来最大限度减少顶部空间空气,延缓香水氧化和挥发。
7. 兼容性与适配性:
泵的尺寸(尤其是瓶口螺纹规格)、吸管长度需完美匹配瓶型。泵的输出量需与香水的粘度和表面张力适配。
8. 物理化学稳定性:
长期储存后,各部件不变形、不老化、弹簧不失效、液体无污染。
FOUR

1. 明确需求:
确定所需的泵型(如喷雾量、喷雾形态、按头款式、装饰要求)、材质等级、密封等级(普通/高保香)、瓶口尺寸、目标成本。
2. 供应商资质审核:
专业经验:是否专注于或具有丰富的高端香水泵制造经验?
技术能力:材料研发、模具精度、自动化生产、检测设备(尤其是密封性、雾化测试)是否完备?
质量体系:是否通过ISO 9001, ISO 22716 (GMP fCosmetics) 认证?
合规性:材料是否符合相关法规(如REACH, RoHS, FDA接触要求)?是否有完整的物质安全数据表和符合性声明?
产能与供应链稳定性:能否保证稳定供应和交付?
3. 样品评估:
严格测试:
兼容性测试:将泵灌装实际香水配方,在加速老化条件下(如40°C/75%RH)储存1-3个月甚至更久,观察部件变化、液体稳定性(是否浑浊、沉淀、变色、气味变化)、泵功能是否正常。
密封性测试:重量损失法(称量灌装瓶一段时间内的重量损失)、真空保压测试(模拟空运低压)、倒置泄漏测试等。
功能测试:喷雾量精度与一致性测试、喷雾形态观察、按压手感评估、回弹速度、泵空测试(是否能重新吸液)。
物理测试:弹簧力、部件尺寸精度、外观检查(毛刺、划痕、电镀/涂层质量)。
4. 供应商合作与沟通:确认其技术响应速度、问题解决能力、定制开发能力、最小起订量、交货周期。
5. 成本与商务条款:在满足质量和功能要求的前提下进行比价。考虑总拥有成本(包括潜在的质量风险成本)。
FIVE
1. 来料检验:严格检验所有原材料(塑料粒子、橡胶、弹簧钢、玻璃珠、金属件)的材质证明、尺寸、外观和关键性能(如橡胶的耐溶剂性、压缩永久变形)。
2. 过程控制:
注塑/成型:控制温度、压力、时间等参数,确保部件尺寸精度、无飞边、无缩水、内壁光洁。
组装:在洁净车间进行(通常要求至少10万级),避免污染。关键工位(如活塞装入泵室、阀门组装)需重点监控。使用自动化设备保证一致性和效率。
弹簧力检测:在线或离线抽检弹簧弹力。
在线功能测试:对每个泵或按批次进行基本的功能测试(如按压是否顺畅、是否出液)。
3. 出货检验:
外观检查:全检或AQL抽样检查外观缺陷(污渍、划痕、变形、电镀不良等)。
尺寸检查:抽检关键尺寸(如瓶口配合尺寸、总高度)。
性能抽检:
喷雾量测试:按压规定次数(如10次),收集并称量总出液量,计算平均每次喷量是否符合规格。
密封性测试:通常采用真空保压法:将泵安装在装有特定液体的测试瓶上,抽真空至一定负压(模拟空运条件),保压一段时间,观察压力衰减或液体泄漏。重量损失法也是常用方法(称量初始重量,倒置或正放一段时间后复称)。
喷雾模式检查:目视或使用喷雾模式分析仪检查喷雾形状、均匀性、有无滴漏。
按压手感评估:抽检按压行程、启始力、回弹性。
4. 批次可追溯性:确保每个泵或批次都有清晰标识,可追溯到原材料批次、生产日期、生产线等信息。
5. 稳定性监控:定期进行长期储存稳定性测试。
SIX
香水泵的成本构成相对复杂,受品牌定位(奢侈品vs大众)、设计复杂度、材料选择、采购量、自动化程度等影响巨大。大致比例如下(供参考):
1. 原材料成本:
塑料粒子(30-40%):泵体、按头、外套、吸管等主要部件。耐化学性等级(如PCTG vs PP)、是否透明、是否添加特殊色母粒影响成本。
金属件(15-25%):弹簧(核心成本之一,高品质不锈钢)、锁盖(铝或钢)、装饰性金属喷头/外套(镀金、镀铬等)。
橡胶/弹性体 (10-20%):活塞、密封垫片。高性能氟橡胶的成本远高于普通EPDM。
其他(5-10%):玻璃珠(球阀)、包装材料(内衬、周转箱)等。
2. 制造与加工成本 (20-35%):
注塑/成型:模具成本(高精度模具昂贵,需分摊)、设备折旧、能耗、人工。
二次加工:电镀、喷涂、UV涂层、激光镭雕等装饰工艺成本较高。
组装:人工或自动化设备成本。洁净车间环境维护成本。
氟化处理:提升密封性的关键工艺,增加显著成本。
3. 质量管控与测试成本 (5-15%):检测设备投入(如自动测试机、雾化分析仪)、人工检验成本、实验室测试(兼容性、稳定性)费用、质量人员成本。
4. 研发与模具摊销 (5-15%):新泵型的结构设计、模具开发(数十万至数百万人民币)需分摊到每个泵上。定制化程度越高,此部分占比越大。
5. 管理、利润与物流 (15-30%):企业管理费用、供应商利润、运输和仓储成本。
总结关键成本驱动因素
高性能材料:氟橡胶活塞/垫片 > EPDM;PCTG/POM泵体 > PP;304不锈钢弹簧 > 普通钢。
复杂结构与装饰:多层电镀、特殊表面效果(哑光、珠光)、异形按头设计。
超高标准密封/保香要求:需要更复杂的结构设计、更精密的加工和更严格的测试(如真空填充技术)。
采购量:量越大,单件成本越低(分摊模具和固定成本)。
自动化程度:高自动化组装线初期投入大,但长期看能提高一致性并降低人工成本。
SEVEN
可持续性:使用回收材料(PCR)、可回收设计、减少部件数量、轻量化。
可替换芯:设计支持更换内芯的泵体结构,减少包装浪费。
定制化与差异化:独特的喷头设计、创新的表面处理工艺、品牌专属元素融入。
更高保香技术:持续改进密封材料和结构,延长香水货架寿命和用户体验。
智能泵雏形:探索集成微型传感器或芯片,用于防伪、用量追踪等(尚在早期)。
总结:
香水泵虽小,但集精密机械、材料科学、化学工程和美学设计于一身,是香水产品成功不可或缺的核心组件。对其深入理解有助于品牌方和制造商做出更明智的决策。


































