立式注塑适用于绝大多数头型的产品,但成型效率较低,产量较低。压铸适用于头型较简单的产品,成型效率很高,一般是立式注塑的2~3倍。
无论哪种设备,都需要配合相应的软管柱头成型模具才能进行生产。同时,立式注塑和压铸的模具也有区别,两种形式的模具无法互换通用。
软管注头成型设备
1.立式注塑机
立式注塑机采用立式锁模、立式注塑机构设计,单螺杆注塑,模具装载方式通常是滑板式或圆盘旋转式。如图1所示。

(图1 立式注塑机:左-滑板式,右-圆盘旋转式)
2.压铸成型
压铸成型注头机采用的吐料、挤压成型的工艺,每个型腔可以独立控制。如图2所示。

(图2 压铸成型注头机)
软管注头立式注塑成型模具
软管注头立式注塑成型模具主要分为冷流道和热流道两大类。冷流道模具多适用于结构复杂的产品,热流道模具多用于结构较简单、订单量较大的产品。
1. 冷流道模具
冷流道模具总装如图3所示。软管管身插入注头棒6后,在立式注塑机液压油缸作用下,模具合模。熔融的PE塑料从立式注塑机螺杆挤出后,经主射嘴1注入流道2,分流到各个分型腔的射嘴3,在牙板4、肩模5和注头棒6的封闭腔体内流动成型、冷却,注头与管身在高温作用下焊接在一起。一个成型周期结束,模具打开、升起,在中心顶柱7和侧边顶柱8的共同作用下,注头成型后的软管产品从注头棒6上脱出,经人手或机械手把产品取出。注头棒6、5#模板13、6#模板14和7#模板15等是定模,一套模具配置两套定模,交替使用。


1-主射嘴;2-流道;3-射嘴;4-牙板;5-肩模;6-注头棒;7-中心顶柱;8-侧边顶柱;9-1#模板;10-2#模板;11-3#模板;12-4#模板;13-5#模板;14-6#模板;15-7#模板。
(图3 冷流道模具总装)
2. 热流道模具
热流道模具总装如图4所示。软管管身插入注头棒6后,在立式注塑机液压油缸作用下,模具合模。熔融的PE塑料从立式注塑机螺杆挤出后,经主射嘴1注入热流道板2,分流到各个分型腔的射嘴3,在牙板4、肩模5和注头棒6的封闭腔体内流动成型、冷却,注头与管身在高温作用下焊接在一起。一个成型周期结束,模具打开、升起,在中心顶柱7和侧边顶柱8的共同作用下,注头成型后的软管产品从注头棒6上脱出,经人手或机械手把产品取出。注头棒6、5#模板13、6#模板14和7#模板15等是定模,一套模具配置两套定模,交替使用。

1-主射嘴;2-热流道板;3-射嘴;4-牙板;5-肩模;6-注头棒;7-中心顶柱;8-侧边顶柱;9-1#模板;10-2#模板;11-3#模板;12-4#模板;13-5#模板;14-6#模板;15-7#模板。
(图4 热流道模具总装)
3. 典型模具结构组成及设计
(a)分型面设计
通常的软管产品注头的分型面会分为三部分,如图5所示,分别是顶部分型面3、螺纹分型面4和肩部分型面5。

1-注头;2-管身;3-顶部分型面;4-螺纹分型面;5-肩部分型面。
(图5 软管注头分型面)
按照分型面的设计要求,成型的软管注头主要模具零件分别由射嘴、牙板、肩模和注头棒组成,如图6所示:

6-射嘴;7-牙板;8-肩模;9-注头棒。
(图6 软管注头模具零件组装)
(b)流道设计
热流道模具主要由流道系统控制,这里不做具体介绍。冷流道模具按软管产品直径、注头结构以及立式注塑机的尺寸等要求,相应的模具腔数设计如图7所示:

(图7 软管注头模具腔数设计列表)
根据立式注塑机的模板安装位置和尺寸、模板和零件安装尺寸、冷却水路布局等设计要求,软管冷流道注头模具的模腔分布及流道的设计如图8所示。其中6腔的模具是单排等距排列,模腔横向间距建议为65mm。8腔的模具是双排等距排列,纵向间距建议120mm,横向间距建议70mm。12腔的模具是双排等距排列,纵向间距建议100mm,横向间距建议55mm。16腔的模具是双排等距排列,纵向间距建议100mm,横向间距建议45mm。分流道的设计按照流道平衡的原则设计,尽可能地保证塑料熔体的流动速度和重量保持一致。


(图8 软管冷流道注头模具模腔分布)
(3)软管注头模具浇口的设计原则
保证塑料的流动性,便于充型。
防止熔体的过度倒流。
成型后便于注头部分与模具分离。
浇口截面直径一般是0.6~1.0mm。
按照产品结构的要求,软管注头模具的浇口主要分为中心浇口和侧浇口两种。
中心浇口从射嘴中心直接注胶到模具型腔内,适用于结构简单,注头出液孔径较大的产品,如图9所示。中心胶口需要后道冲切软管口部出孔,会造成冲切塑胶屑污染的问题。

1-射嘴;2-射嘴套;3-牙板;4-肩模;5-注头棒。
(图9 软管注头模中心浇口)
侧浇口有三种形式:
一、侧浇口1的设计适合结构较简单、注头出液孔较小的产品,一般在注头螺纹上方的侧边,如图10所示。
1-射嘴;2-牙板;3-肩模;4-注头棒。
(图10 软管注头模侧浇口1)
二、侧浇口2的设计适合结构复杂、脱模距离较大的产品,一般在注头内部,如图11所示。

1-射嘴;2-牙板;3-肩模;4-注头棒。
(图11 软管注头模侧浇口-2)
三、侧浇口3的设计适合表面光洁度要求较高的产品,可做在注头螺纹内,牙板滑开时分离,如图12所示。

1-射嘴;2-牙板;3-肩模;4-注头棒。
(图12 软管注头模侧浇口3)
(4)水路设计
冷却水路的设计要保证冷却平衡。在模板壁厚尺寸允许和便于加工的基础上,尽可能地靠近型腔,并保证密封性。各模板水路的布局建议分别如图13~16所示。

(图13 2#模板水路设计)

(图14 3#模板水路设计)

(图15 4#模板水路设计)

(图16 7#模板水路设计)
(5)通用结构部件
软管注头立式注塑模具成型的主要通用结构部件有射嘴、牙板、肩模和注头棒。
一、射嘴
冷流道侧浇口射嘴的结构设计如图17所示,射嘴镶件1镶嵌到射嘴套2,用镶件压紧块3和销钉9固定,成型孔顶杆6在弹簧4的作用下,在注头成型时,可在型腔8中成型出液孔。

1-射嘴镶件;2-射嘴套;3-镶件压紧块;4-弹簧;5-流道;6-成型孔顶杆;7-侧浇口;8-型腔;9-销钉。
(图17 冷流道测浇口射嘴)
二、牙板
软管注头的螺纹部分由牙板成型,牙板的结构设计如图18所示。一组型腔的牙板有两块,分别由A牙板1和B牙板2通过销钉孔4与模板上的销钉对称固定,经A斜导柱孔5和B斜导柱孔在斜导柱的作用下完成模具开合,成型注头的螺纹3。

1-A牙板;2-B牙板;3-螺纹;4-销钉孔;5-A斜导柱孔;6-B斜导柱孔。
(图18 软管注头模牙板)
三、肩模
肩模用于成型软管注头的肩部,结构设计如图19所示。

(图19 软管注头模肩模)
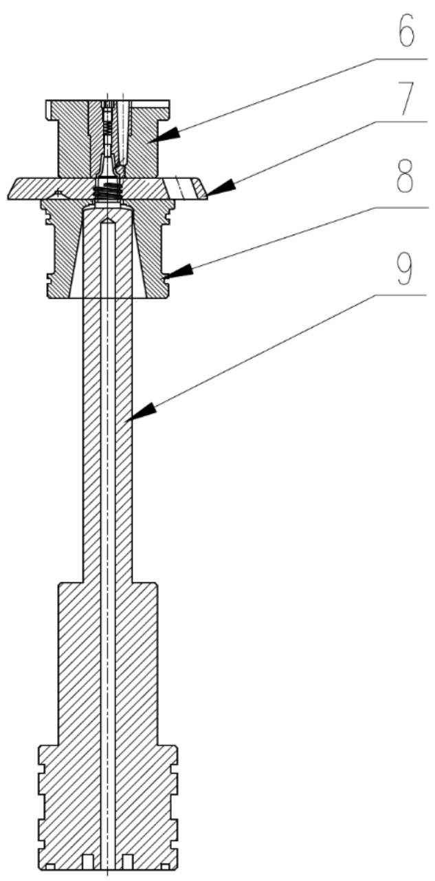
四、注头棒
柱头棒结构如图20所示。注头棒由底座3固定在模板上,冷却水从底部向上通过冷却水路1循环流动,带走热量。注头成型完成后,模板充入高压空气,经气孔4进入,从顶出气孔2吹出,软管从注头棒上脱出。

1-冷却水路;2-顶出气孔;3-底座;4-气孔。
(图20 软管注头模注头棒)


































